新京报贝壳财经讯 (记者袁秀丽)11月21日,北京市规划和自然资源委员会网站发布了2025年第九轮拟供应商品住宅用地清单,共涉及6宗地,土地面积约20公顷,建筑规模约36万平方米,计划于近期供应。
本轮推出的地块全部位于市场需求突出、基础设施和公共服务配套较完善的区域。从区域分布来看,中心城区占4宗,分别为朝阳区1宗、海淀区1宗、石景山区2宗;此外,通州区与密云区各有1宗。
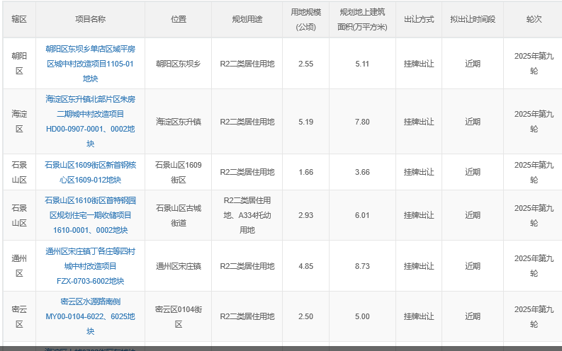
值得关注的是,海淀朱房又出新地块。此次推出的海淀区东升镇北部片区朱房二期城中村改造项目HD00-0907-0001、0002地块,位于海淀区东升镇,五环至六环之间,邻近地铁8号线永泰庄站。周边有清河万象汇、悦茂购物中心、奥林匹克森林公园北园等生活配套设施。
朝阳区东坝乡单店区域平房区城中村改造项目1105-01地块,位于朝阳区东坝乡,五环至六环之间,邻近地铁3号线东坝站、东坝南站。周边有万达广场、金隅嘉品Mall、北京市第一中西医结合医院(东坝院区)、京城体育休闲公园等生活配套设施。
此次石景山区供应两宗住宅用地,均位于古城街道,五环至六环之间。其中,石景山区1609街区新首钢核心区1609-012地块,邻近地铁11号线新首钢站。周边有六工汇购物广场、金安环宇荟购物中心、首钢园、北京冬奥公园等生活配套设施;石景山区1610街区首特钢园区规划住宅一期收储项目1610-0001、1610-0002地块,邻近地铁1号线、6号线、S1线换乘站苹果园站、11号线北辛安站。周边有喜隆多购物中心、京西大悦城、古城公园、首钢园等生活配套设施。
通州区宋庄镇丁各庄等四村城中村改造项目FZX-0703-6002地块,位于通州区宋庄镇,六环外。周边有谷德玛特购物广场、华联购物中心(六合新村店)、北京安贞医院通州院区、宋庄文化创意公园、路县故城遗址公园等生活配套设施。
密云区水源路南侧MY00-0104-6022、6025地块,位于密云区0104街区,六环外。周边有北京密云万象汇、燕赛奥特莱斯购物中心、国泰百货(密云店)、北京大学第一医院密云院区、奥林公园等生活配套设施。

图/北京市规划和自然资源委员会网站截图
编辑 王进雨
校对 吴兴发






