新京报讯 (记者袁秀丽) 6月1日,北京第二轮集中供地进入现场竞价环节,将有7宗地块决出最终赢家。当天9时,首个竞拍地块为朝阳区太阳宫新区D区0210-029地块R2二类居住用地。最终,该地块经历了“触顶”上限价格66.815亿元、竞政府产权触顶10%、摇号环节,最终被中建玖合摘得。

6月1日,中建玖合以上限价66.815亿元拿下朝阳区太阳宫地块。图/北京规自委官网
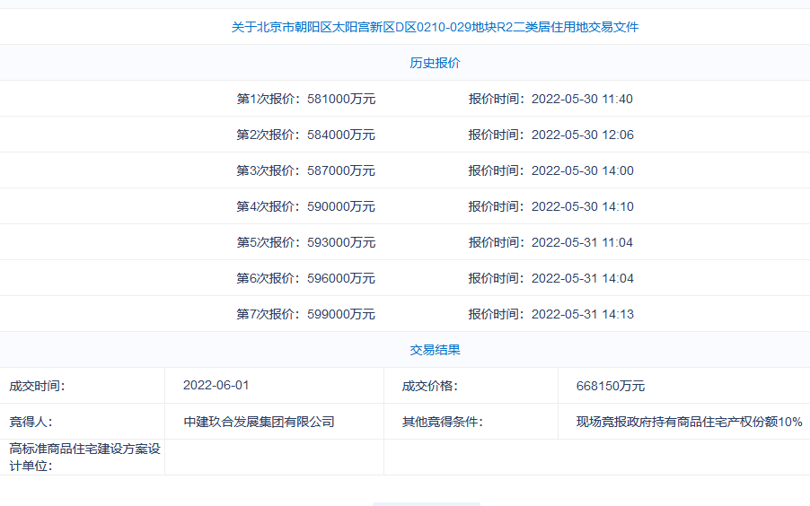
据土地出让文件显示,上述太阳宫地块用地建筑面积为7.57万平方米,起始价为58.1亿元,起始楼面价为7.67万元/平方米,销售指导价为13万元/平方米。最终,该地块触顶成交,成交价66.815亿元,溢价率15%,折合成交楼面价约8.8万元/平方米。
文件还规定,该地块设定土地合理上限价格约为66.815亿元,当竞买报价达到土地合理上限价格时,转为竞报政府持有商品住宅产权份额程序,当达到政府持有商品住宅产权预设份额10%时,转为现场摇号方式确定竞得人。
值得一提的是,此前太阳宫地块就备受关注,吸引了7家企业报名。截至5月31日,该地块出现7次报价,总价达到59.9亿元。太阳宫地块所处区域较为成熟,交通、商业、医疗等配套均较完备,包括地铁10号及17号线。从销售指导价13万元/平方米来看,这是北京第二批集中供地销售价格最高的地块。但与周边二手房项目相比,也存在“倒挂”现象,该地块周边个别项目的二手房价格达到16万元/平方米。
编辑 武新
校对 刘军






